建筑光伏發電系統
2015/3/13 17:41:37
安科瑞電氣股份有限公司 供稿
1、概述
建筑光伏發電是一種新型的、具有廣闊發展前景的發電和能源綜合利用方式。它將光伏電池板、匯流箱置于家庭、企業辦公樓、廠房等建筑物的屋頂,通過光伏逆變器、配電柜及其他設備直接將太陽能轉化為電能并入電網,實行“自發自用、余電上網、就近消納、電網調節”的運營模式,能夠有效解決電力在升壓及長途運輸中的損耗問題。
2、拓撲圖
2.1 AMI-250微逆變器組成光伏并網發電系統
2.1.1 微逆變器單相并網系統

2.1.2 微逆變器三相并網系統

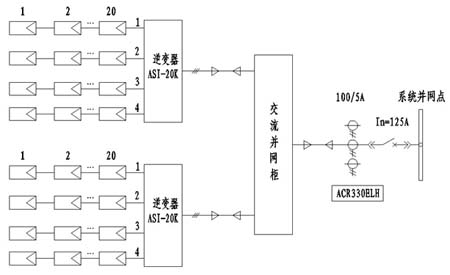
2.2 ASI-20KW光伏逆變器組成三相并網發電系統

2.3 大型光伏電站系統

3、光伏發電系統監控
3.1 微逆變器光伏發電系統監控
微逆變器組成的光伏監控系統可以實現對單塊太陽能電池板組件的監控,可以通過網絡查看單塊組件的當前發電功率,歷史發電功率的柱狀圖顯示及發電電量等數據。


3.2 ACREL-2000 V8光伏發電系統監控
ACREL-2000 V8系統對光伏電站的整體信息進行監控,采用圖形和數據的形式實時動態地展現電站概況、電站實時發電及發電統計信息。通過主界面可以對光伏陣列現場環境進行實時監測與顯示,如室外溫度值、風速、風向、光照強度等。
- 1
- 2
- 總2頁
免責聲明:本文僅代表作者個人觀點,與電源在線網無關。其原創性以及文中陳述文字和內容未經本站證實,對本文以及其中全部或者部分內容、文字的真實性、完整性、及時性本站不作任何保證或承諾,請讀者僅作參考,并請自行核實相關內容。
本文鏈接:建筑光伏發電系統
http:m.mangadaku.com/news/55780.htm
http:m.mangadaku.com/news/55780.htm
文章標簽: 建筑光伏發電系統/光伏逆變器/配電柜





